Новости науки
14.11.25
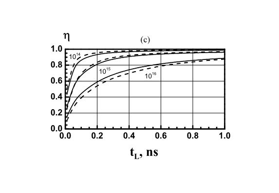
Зависимость от времени обратного тормозного поглощения лазерного излучения при различных геометриях разлета плазмы
Полученные аналитические решения показывают быстрый рост доли поглощённой энергии в течение времени образования слоя плазмы с толщиной, равной обратной величине коэффициента поглощения, и практически полное поглощение за период, в 6-7 раз превышающий это время. Установлен эффект компенсации негативного влияния бокового расширения сферической и цилиндрической мишеней на эффективность поглощения.Решения подтверждены численными расчётами.


